【爱集微点评】铭利达提出的汽车电机模具高压冷却装置及方案,当压铸模本体局部过热时,水冷回路组件运行以带走压铸模本体内部的热量,并在高压水流的冲击下通过腔式冷压结构流动至外界带走内部的热量,使得模具温度保持平衡,避免了温度失衡对铝合金压铸成型而造成成形性和表面质量差以及机械强度低等问题。
集微网消息,汽车电机是用于实现电能转环或者传递的一种电磁装置,主要作用是穿绳驱动转矩,作为电动汽车的动力源。电机机身主体是由铝合金压铸而成,而铝合金具有低密度、高比强度以及疲劳强度,其次铝合金还具备良好的成型工艺性能和耐腐蚀性,使得由铝合金压住形成的电机机身也具备相关优良的性能。
现有的电机机身通过电机模具压铸铝合金成型,铝合金压铸成型时的机械强度和致密性严重影响着电机机身的成型质量。在现有技术中的电机模具,由于电机机身产品的内孔过大过深,使得电机机身在压铸成型时,电机模具需要压铸于电机机身内很大的深度。由此,电机模具温度长度方向的温度无法保持平衡,电机模具局部过热会造成压铸的电机机身的致密性和机械强度均较差,导致电机机身的成型质量差。
面对现有技术中的电机模具局部过热造成压铸的电机机身的致密性和机械强度均较差,导致电机机身的成型质量差的问题,铭利达在2020年10月10日申请了一项名为“一种汽车电机模具高压冷却装置”的发明专利(申请号:202011078291.8),申请人为深圳市铭利达精密技术股份有限公司。
根据该专利目前公开的相关资料,让我们一起来看看这项技术方案吧。

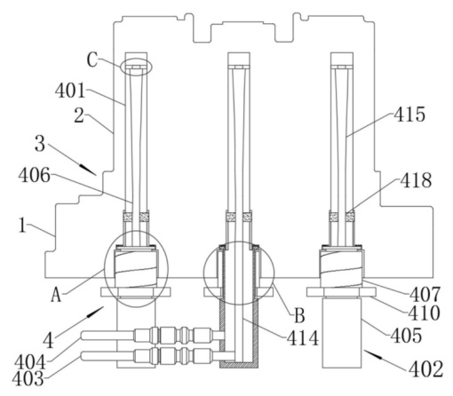
如上图,为该专利中公开的汽车电机模具高压冷却装置的结构示意图,该压铸模本体3包括下宽部型芯1和设置于下宽部型芯底部的上窄部型芯2,压铸模本体设置有贯穿于上窄部型芯并向下宽部型芯内部延伸的腔式冷压结构4。腔式冷压结构内设置有用于吸收本体热量的水冷回路组件,在压铸模本体局部过热时,水冷回路组件运行以带走压铸模本体内部的热量。
该设备在使用时,腔式冷压结构设置在压铸模本体内部,即下宽部型芯和上窄部型芯内部。设置在压铸模本体内部的腔式冷压结构,在本体进行电机机身的铝合金压铸时,由于铝合金压铸时在短时间内释放大量热量,压铸模本体表面和内部均升高,且部分区域温度较高,造成压铸模本体上的温度失衡,会导致压铸成型的电机机身的成形性、表面质量、机械强度等均较差。
此时,通过腔式冷压结构直接在压铸模本体内部进行热量吸收,并将吸收的热量导引至外界。通过高压点冷快速吸收引导热量转移,达到对压铸电机机身时的较大内孔处的内部降温,从而消除了压铸模本体的温度失衡问题以及因温度失衡导致的成型机身成形性、表面质量以及机械强度等问题。
水冷回路组件包括设置在下宽部型芯底部并延伸至上窄部型芯内的多个进水点冷孔401,其中一个进水点冷孔设置在下宽部型芯的底部中间,其余多个进水点冷孔环形阵列设置在下宽部型芯上。每个进水点冷孔内均安装有高压点冷管402,高压点冷管的端部设置有进水接头403和出水接头404,且水自进水接头进入至进水点冷孔内对压铸模本体进行高压点冷并通过出水接头流出带走热量。
腔式冷压结构在使用时,水自进水接头通过高压点冷管进入进水点冷孔内部,经过高压冲向进水点冷孔的底部,对该进水点冷孔处附近的热量进行吸收。随着进水点冷孔内的水越来越多,直至填充满整各进水点冷孔后,在高压水流的冲击下,进水点冷孔内的水自出水接头处流出至外界,吸收的热量也被传导至外界,以完成对该处进水点冷孔附近的降温冷却。

如上图,为上述进水点冷孔的结构放大示意图,进水点冷孔包括设置在下宽部型芯上的连接段411和连接段底部连通的冷却段412,且连接螺纹设置在连接段上。连接段的底部设置有环形密封槽413,且外连接套的一端与环形密封槽的底部相抵,环形密封槽与外连接套相抵的侧壁上均胶接有密封防水垫420。
连接件407通过外螺纹套409与进水点冷孔之间螺纹连接,使得外连接套与进水点冷孔之间完成锁紧连接,并通过螺纹咬合形成密闭空间,避免水从两者的连接处直接渗出。通过单独外螺纹套409的转动,而不必转动外连接套,避免在安装时对外连接套产生损伤,影响正常使用。
为了进一步提高进水点冷孔与高压点冷管之间的连接密封性,将进水点冷孔设计成阶梯状,并使得外连接套的端部在外螺纹套的螺纹咬合力下与环形密封槽的底部相抵,并通过密封防水垫提高密封性。水流在经过连接段时,直接流经连接段的侧壁并通过出水接头流出,并不会折返对环形密封槽处进行压力冲击。因此,不仅密封性能提升,其次也避免密封防水垫受到较长时间的水的侵蚀,延长了密封防水垫的寿命。
以上就是铭利达提出的汽车电机模具高压冷却装置及方案,当压铸模本体局部过热时,水冷回路组件运行以带走压铸模本体内部的热量,并在高压水流的冲击下通过腔式冷压结构流动至外界带走内部的热量,使得模具温度保持平衡,避免了温度失衡对铝合金压铸成型而造成成形性和表面质量差以及机械强度低等问题。


